汕财采购〔2020〕19号
各县(市、区)财政局,市直各预算单位(采购单位):
根据省财政厅《情况通报》(第44期),我市、县两级所有预算单位,在政府采购贫困地区农副产品网络销售平台(下称:“832平台”)各项工作相对落后,其中采购执行平台交易金额为0元,地市排名中为后5位之一。据最新统计7月2日止,(1)全市预算单位已注册预算单位仅243家;(2)已激活账号才89家,(3)采购人账号数量475家,实际激活数量444家;(4)已注册预算单位上报年度采购农副产品预算总额2961万元;实际预留“832平台”采购份额583.84万元,占19.71%;(5)已完成交金额才5.13万元(见附件)。全市除市直、海丰县有关采购单位比较重视,相关工作进度较快外,其他县(市、区)相关采购单位领导仍然十分不重视,行动迟缓,相关工作进展缓慢。为此,提出如下工作措施及意见,请认真贯彻执行:
一、各县(市、区)财政局、市直各部门要进一步提高思想认识,提高政治站位。各县(市、区)财政局应充分认识运用政府采购政策支持脱贫攻坚的重要意义,增强政策执行的自觉性和紧迫性,积极采取有效措施,加大宣传动员力度,督促各采购单位,切实推进2020年“832平台”采购工作,以实际行动助力脱贫攻坚年工作;我局已将省财政厅《情况通报》结果按要求上报市政府督查室。
二、对市、县级各预算单位应采取多渠道筹集资金,落实采购预算执行金额。各级预算单位是执行“832平台”采购主体责任单位,应整合工会经费用于职工福利、单位职工食堂单位补贴、特定人员集体食堂的财政性补贴资金等,同时可由单位工会组织发动扶贫爱心人士购物,采用集中资金、批量采购方式等办法,通过网络销售平台进行采购,增大扶贫采购执行金额,其中,对各级预算单位有特定人员集体食堂使用财政补贴资金的,要求用不低于补贴资金的20%,通过“832平台”采购农副产品;对有职工集体食堂单位,要求预留不低于采购农副产品食材资金的15%,通过“832平台”采购农副产品。
三、要求采购执行金额实行“零”突破。全市各级预算单位除完成本单位账户注册相关工作外,同时应指导属下单位落实执行,共同发力,形成齐抓共管局面,在7月15日前全面完成账户注册、激活、预留下半年采购预算,在7月31日前采购执行金额实行“零”突破。
四、对7月31日前对采购执行不力,采购金额未实现“零”突破的单位,将采取以下措施:1、暂停办理政府采购项目计划备案;2、每季度对“832平台”采购执行不力的预算单位进行通报,同时抄送同级纪委监委部门; 3、建议市工作目标责任制综合考核工作领导小组办公室对各相关单位落实执行情况,列入年度绩效考核内容。
五、其他
市财政局从8月份起,将于每月未定期统计和通报各预算单位采购贫困地区农副产品情况。各县(市、区)财政局应参照省、市的做法,对本地区的贫困地区农副产品采购情况进行通报。
各预算单位(采购单位)在网络销售平台系统操作及具体交易过程中遇到问题,请联系400-118-8832,电子邮箱:fupin832@fupin832.com。
附件:
2.全市采购农副产品“832平台”相关工作进展情况图示.docx
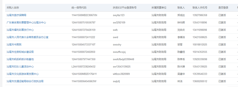
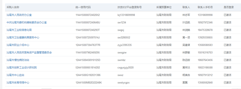
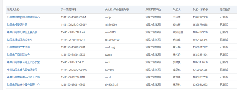
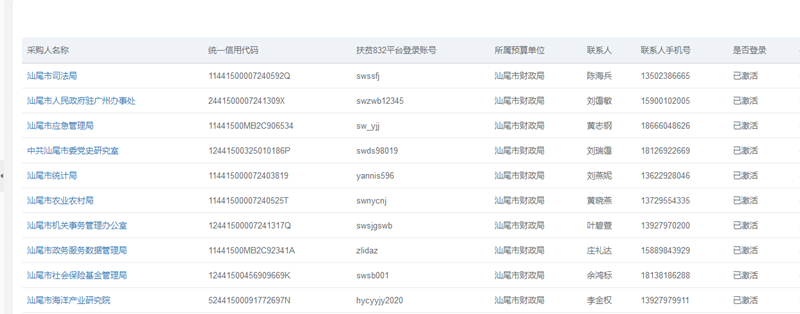
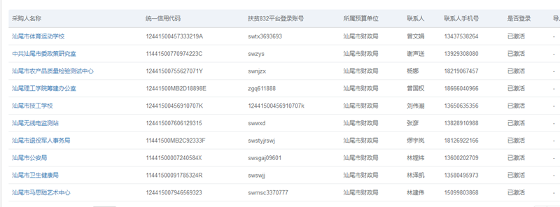
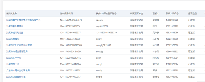
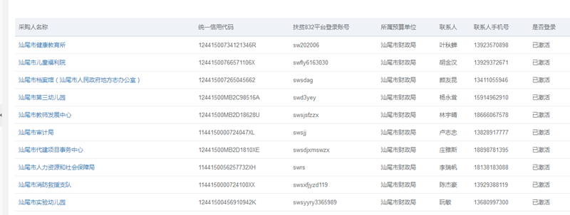
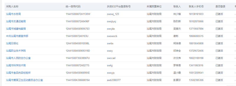
3.市直单位“832平台”激活账号情况统计表
4.市直预算单位采购贫困地区农副产品预留份额情况表









(联系人:吴堂滨 联系电话:3310721)
汕尾市财政局
2020年7月6日

您现在所在的位置 :
2020-07-08 09:58
粤公网安备44150202000004号